Top

Rückschlagventil Typ Y mit Gewinde

Rückschlagventile mit Y-Gewinde sind Sicherheitsventile, die den Durchfluss von Flüssigkeiten in eine Richtung ermöglichen und einen Rückfluss verhindern, wodurch ein effizienterer Betrieb des Systems gewährleistet wird. Rückschlagventile, die an die Anlage angeschlossene Geräte wie Pumpen und Kompressoren vor Schäden durch Rückfluss schützen, sind dank ihres einfachen Aufbaus, ihres automatischen Funktionsprinzips und ihres breiten Anwendungsbereichs in vielen Branchen weit verbreitet.


Betriebstemperatur zwischen -20 °C und +120 °C. Geeignet für die Druckklasse PN40.

Get a Quote Whatsapp
Rückschlagventil Typ Y mit Gewinde
Spezifikationen
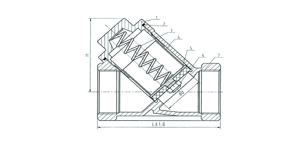
Deckel (1) AISI304 / AISI316
Dichtung (2) PTFE
Feder (3) AISI304
Innere Teile (4) AISI304 / AISI316
Sitz (5) PTFE
Gehäuse (6) AISI304 / AISI316
Betriebstemperatur -20 °C / +120 °C
Druckklasse PN40
Technische Zeichnung
Y Tipi Dişli Çekvalf, Paslanmaz Çelik
Abmessungen
GRÖSSEDLH
DN15 1/2" 15 64,5 48
DN20 3/4" 20 79,5 55
DN25 1" 25 88 65
DN32 1.1/4" 32 104 75
DN40 1.1/2" 40 117,5 80
DN50 2" 49 134 95
Technisches Dokument

Technisches Dokument