3-Piece Flanged Ball Valve is a type of valve that is frequently preferred for fluid control in industrial applications, especially suitable for use in large diameter pipelines and high pressure applications with its high strength and sealing properties.
In 3-piece flanged ball valves, the term ‘3-piece’ indicates that the body of the valve consists of 3 parts. The fact that the valve body consists of 3 parts provides advantages for maintenance and replacement of internal parts and gaskets. Since the internal parts are easily replaceable, worn or deteriorated parts can be easily replaced, extending the life of the valve without loss of performance.
Operating temperature between -30 °C and +120 °C. Suitable for PN40 pressure class.
Get a Quote Whatsapp
| SPECIFICATIONS | |
|---|---|
| Body | AISI304 / AISI316 |
| Ball | AISI304 / AISI316 |
| Ball Seat | PTFE |
| Ball Shaft | AISI304 / AISI316 |
| Shaft Ring | PTFE |
| Washer | AISI304 |
| Pressure Ring | AISI304 |
| Handle | AISI304 |
| Lock | AISI304 |
| Dimensions | DIN 3202-F1/F5 (DIN 558-1) |
| Connections | DIN 2501 (DIN EN 1092-2) |
| Tests | EN 12266-1 |
| Operating Temperature | -30 °C / +120 °C |
| Pressure Class | PN40 |
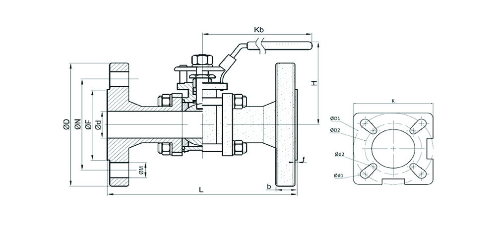
| Technical Drawing | |||||||||||
|---|---|---|---|---|---|---|---|---|---|---|---|
![]() |
|||||||||||
| DIMENSIONS | |||||||||||||
|---|---|---|---|---|---|---|---|---|---|---|---|---|---|
| CLASS | SIZE | L | Kb | H | Ød | ØD | ØN | ØF | b | ØD1 | ØM | f | |
| PN40 | DN15 | 130 | 130 | 79 | 15 | 95 | 65 | 45 | 16 | 4 | 14 | 2 | |
| PN40 | DN20 | 150 | 155 | 83 | 20 | 105 | 75 | 58 | 18 | 4 | 14 | 2 | |
| PN40 | DN25 | 160 | 175 | 97 | 25 | 115 | 85 | 68 | 18 | 4 | 14 | 2 | |
| PN40 | DN32 | 180 | 175 | 102 | 32 | 140 | 100 | 78 | 18 | 4 | 18 | 2 | |
| PN40 | DN40 | 200 | 190 | 118 | 40 | 150 | 110 | 88 | 18 | 4 | 18 | 2 | |
| PN40 | DN50 | 230 | 190 | 123 | 50 | 165 | 125 | 102 | 20 | 4 | 18 | 3 | |
| PN16 | DN65 | 290 | 280 | 162 | 65 | 185 | 145 | 122 | 20 | 4 | 18 | 3 | |
| PN16 | DN80 | 310 | 280 | 173 | 80 | 200 | 160 | 138 | 20 | 8 | 18 | 3 | |
| PN16 | DN100 | 350 | 315 | 197 | 100 | 220 | 180 | 158 | 20 | 8 | 18 | 3 | |
| PN16 | DN125 | 400 | 610 | 610 | 125 | 250 | 210 | 188 | 22 | 8 | 18 | 3 | |
| PN16 | DN150 | 450 | 610 | 610 | 150 | 285 | 240 | 212 | 22 | 8 | 22 | 3 | |
| PN16 | DN200 | 550 | 850 | 850 | 200 | 340 | 295 | 268 | 24 | 12 | 22 | 3 | |
| PN16 | DN250 | 650 | 1000 | 1000 | 250 | 405 | 355 | 320 | 32 | 12 | 26 | 3 | |