Top

Vertical Check Valve Stainless Steel

Vertical Check Valves are safety valves that allow fluids to flow in one direction and prevent backflow, thus ensuring more efficient operation of the system. Vertical check valves, which protect equipment such as pumps and compressors connected to the installation from damage due to backflow, are widely used in many industries thanks to their simple structure, automatic operating principle and wide application area.


Operating temperature between -20 °C and +120 °C. Suitable for PN40 pressure class.

Get a Quote Whatsapp
Vertical Check Valve
SPECIFICATIONS
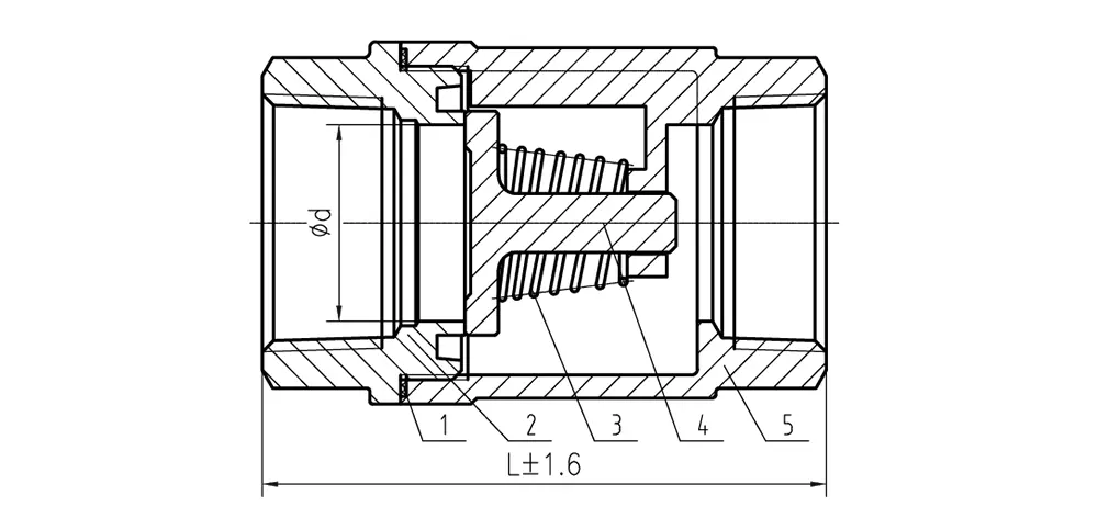
Body (1) AISI304 / AISI316
Gasket Ring (2) PTFE
Cover (3) AISI304 / AISI316
Spring (4) AISI304
Disk (5) AISI304 / AISI316
Operating Temperature -20 °C / +120 °C
Pressure Class PN40
Technical Drawing
Dik Çekvalf, Paslanmaz Çelik
DIMENSIONS
SIZEDL
DN15 1/2" 15 58
DN20 3/4" 20 62
DN25 1" 25 76
DN32 1.1/4" 32 87
DN40 1.1/2" 40 102
DN50 2" 50 113
Technical Document

Technical Document